Geberit: Neue normative Vorgaben für die Gebäudeentwässerung
Mit Ausgabedatum 2025-06 wurde am 2. Mai 2025 der Entwurf der novellierten DIN 1986-100 „Entwässerungsanlagen für Gebäude und Grundstücke – Teil 100: Bestimmungen in Verbindung mit DIN EN 752 und DIN EN 12056“ veröffentlicht. Neben redaktionellen Änderungen und der Aktualisierung von Verweisen und Bezügen wurden auch zahlreiche fachliche Änderungen vorgenommen. Der Normentwurf ist kostenfrei über das Norm-Entwurfs-Portal des DIN einsehbar. Die Anwender können über dieses Portal Einsprüche und Kommentare eingeben, die Einspruchsfrist endet am 2. Juli 2025. Die wesentlichen voraussichtlichen Änderungen für die Gebäudeentwässerung werden nachfolgend erläutert.
Definition der Rückstauebene präzisiert
Die Definition der Rückstauebene nach DIN EN 12056-1 „Die höchste Ebene, bis zu der das Wasser in einer Entwässerungsanlage ansteigen kann“ wurde im Allgemeinen mit der Geländeoberkante am Anschlusspunkt der Gebäudeentwässerungsanlage (GEA) an den Straßenkanal gleichgesetzt. Diese Interpretation versagt jedoch bei Gebäuden in Hanglage oder beim Fehlen eines Übergabeschachts mit offenem Durchfluss auf dem Gebäudegrundstück. Das Beispiel in Abb. 1 zeigt, dass die Geländeoberkante am Anschlusspunkt der GEA nicht pauschal mit der Rückstauebene gleichgesetzt werden kann. Bei einem möglichen Abflusshindernis im Straßenkanal in Fließrichtung vor dem tieferliegenden Schacht liegt der wirksame Entspannungspunkt oberhalb des höhergelegenen Schachts.
So wird die Definition der Rückstauebene nun präzisiert, auch um die abstrakte Definition aus DIN EN 12056-1 etwas greifbarer zu machen. Nach neuer Definition für die maßgebliche Rückstauebene ist der wirksame öffentliche Entspannungspunkt zuzüglich eines Sicherheitsabstands relevant. Der Sicherheitsabstand wird als Überstauhöhe bezeichnet, um im Rückstaufall auch den Überstau bei einem Wasseraustritt aus der Kanalisation zu erfassen. Abb. 2 zeigt die Lage der Rückstauebene nach neuer Definition am Beispiel eines Kanalanschlusses in Hanglage.
Der Entspannungspunkt entspricht in der Regel dem – entgegen der Fließrichtung betrachtet – nächst gelegenen Schacht des öffentlichen Entwässerungssystems. Die Überstauhöhe kann anhand der örtlichen Gegebenheit und den hydraulischen Verhältnissen im örtlichen Kanalnetz ermittelt werden. Als mögliches Maß für die Überstauhöhe wird der Höhenversatz eines gegenüber der Straßenoberkante (Oberkante Schacht, Entspannungspunkt) höhergelegenen Gehwegs betrachtet (Bordsteinkante). In Zweifelsfällen muss die Überstauhöhe beim zuständigen Kanalnetzbetreiber erfragt werden.
Rückstauschleife bei Abwasserhebeanlagen
Bei Abwasserhebeanlagen besteht durch den sogenannten Saughebereffekt die Gefahr des Rücksaugens von Schmutzwasser aus dem öffentlichen Abwasserkanal über die Abwasserhebeanlage ins Gebäude. Abb. 3 zeigt die Analogie zum allgemein bekannten Versuch aus dem Physikunterricht. Über die hydrostatische Druckdifferenz ∆p=ρgh2-h1 kann Flüssigkeit von einem Behälter in einen tiefergelegenen Behälter umgefüllt werden.
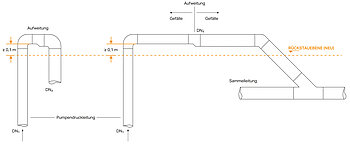
Rückflussverhinderer sind Bestandteil der Abwasserhebeanlage und sollen das Rückfließen von Schmutzwasser verhindern. Es besteht jedoch die Gefahr, dass diese aufgrund der Begleitstoffe im Schmutzwasser, insbesondere Feuchttücher, nicht schließen. Um das Rücksaugen durch den
Saughebereffekt zu vermeiden, wurden folgende Änderungen in der Ausführung von Rückstauschleifen in Pumpendruckleitungen vorgenommen: Die Sohle der Rückstauschleife muss mind. 0,1 m über die Rückstauebene geführt werden. Zudem ist in der Rückstauschleife eine Aufweitung in die nächstgrößere Rohrdimension vorzusehen. Durch diese Überleitung in die Freispiegelentwässerung wird eine Vollfüllung der Pumpendruckleitung bis in den Straßenkanal vermieden. Abb. 4 zeigt beispielhaft mögliche Ausführungsvarianten der Rückstauschleife.
Bodenabläufe mit reduzierter Sperrwasserhöhe
Es gilt der Grundsatz, dass die Geruchverschlusshöhe für Schmutzwasserabläufe ≥ 50 mm betragen muss. Mit dieser Vorgabe können in der Renovation von Bestandsbauten oftmals keine bodenebenen Duschflächen realisiert werden, da die erforderliche Fußbodenaufbauhöhe im Bestand nicht immer gegeben ist. So haben sich schon vor Jahren Produktlösungen etabliert, die mit reduzierten Sperrwasserhöhen geringere Aufbauhöhen ermöglichen. Diese Produktlösungen hatten allerdings nicht den „normativen Segen“, man befand sich in einer regulatorischen Grauzone. Die Regelsetzer haben nunmehr diese Lücke geschlossen, es wurden im Jahr 2023 entsprechende Produktnormen in der Reihe DIN EN 1253 eingeführt, die im Entwurf der novellierten DIN 1986-100 Berücksichtigung finden. So werden Bodenabläufe mit reduzierter Sperrwasserhöhe in DIN EN 1253-6 geregelt, mechanische Geruchverschlüsse in DIN EN 1253-7 und die Kombination aus Sperrwasser plus mechanischem Verschluss in DIN EN 1253-8. In diesen Produktnormen werden nicht nur Anforderungen an die Konstruktion, Ausführung und Funktion formuliert, es werden zudem Einsatzbedingungen und -grenzen genannt. So gelten beispielsweise für Bodenabläufe mit reduzierten Sperrwasserhöhen (DIN EN 1253-6) folgende Vorgaben:
Aus Platzgründen kann kein Bodenablauf mit einer Sperrwasserhöhe von 50 mm untergebracht werden.- Das Gebäude weist neben dem Erdgeschoss nicht mehr als drei Stockwerke auf.
- In der Anschlussleitung sind mindestens zwei weitere häusliche Entwässerungsgegenstände angeschlossen (max. 1 WC), oder die Anschlussleitung wird belüftet (Belüftungsventil oder Umlüftung) bzw. die Fallleitung ist mit einer direkten oder indirekten Nebenlüftung ausgestattet.
Schmutzwasserfallleitungen – Versprünge und Verziehungen
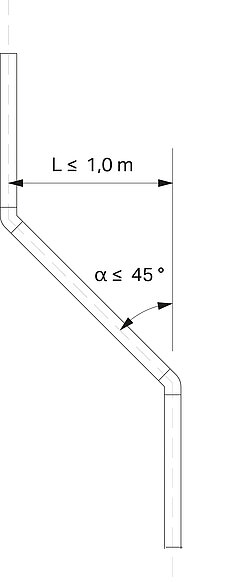
Der Normentwurf unterscheidet nun zwischen Fallleitungsversprüngen und -verziehungen. Bei Versprüngen mit einer maximalen Auslenkung von 1 m und Richtungsänderungen ≤ 45° sind – unabhängig von der Fallleitungslänge – keine besonderen Maßnahmen erforderlich (siehe Abb. 5). Der Versprung bleibt in den Bemessungsregeln für Fallleitungen (DIN 1986-100 – Tab. 8) und kann nennweitengleich ausgeführt werden. Lediglich Anschlüsse innerhalb des Versprungs sind nicht zulässig.
Bei Fallleitungsverziehungen (Achsversatz > 1 m und/oder Richtungsänderungen > 45 °) werden aufgrund nachstehender Erläuterung Änderungen erforderlich. Bis zur Einführung der DIN EN 12056 in Verbindung mit DIN 1986-100 wurden Fallleitungen wie liegende Leitungen mit Mindestgefälle dimensioniert. Das
Mindestgefälle betrug zu diesem Zeitpunkt J = 2 cm/m. Mit dieser Regelung konnten Fallleitungen problemlos nennweitengleich verzogen werden. Mit Einführung von DIN EN 12056 in Verbindung mit DIN 1986-100 können Fallleitungen in Abhängigkeit vom Einlaufabzweig (bogenförmig mit Innenradius oder 87-88,5°) wesentlich höher belastet werden. Zugleich wurde das Mindestgefälle für belüftete liegende Leitungen auf J = 0,5 cm/m abgesenkt, wobei sich in der Praxis ein Mindestgefälle von J = 1 cm/m etabliert hat. Abb. 6 verdeutlicht die Zusammenhänge.
Durch diese Änderungen besteht bei einer nennweitengleichen Ausführung einer Fallleitungsverziehung die Gefahr der Überlastung bis hin zum Zuschlagen des Querschnitts in der liegenden Leitung der Verziehung. Der „Flaschenhals“ liegt hierbei vor dem ablaufseitigen Bogen einer Fallleitungsverziehung, siehe Abb. 7.
Grundsätzliche Änderungen gibt es bei Fallleitungsverziehungen, wobei die drei Bereiche Fallleitungen bis 10 m (LF ≤ 10 m) Fallleitungen über 10 m bis 22 m (10 m < LF ≤ 22 m) Fallleitungen über 22 m (LF > 22 m)
erhalten bleiben. Im Bereich 1 (LF ≤ 10 m) gibt es keine Änderungen. In den Bereichen 2 und 3 (LF > 10 m) wurden die anschlussfreien Zonen vereinheitlicht (siehe Abb. 8) und die Dimensionierungsregeln neu definiert. Die anschlussfreien Zonen sind:
- ≥ 2m vor dem zulaufseitigen Bogen;
- ≥ 1m nach dem zulaufseitigen Bogen;
- ≥ 1m vor dem ablaufseitigen Bogen;
- ≥ 1m nach dem ablaufseitigen Bogen.
Wie in Abb. 8 zu erkennen ist, sind Anschlüsse im Bereich der Fallleitungsverziehung nur möglich, wenn die Verziehung eine Länge > 2 m hat und somit eine mögliche Anschlussstrecke (Punkt 3) besitzt. Bei Fallleitungsverziehungen < 2 m müssen für Anschlüsse im Bereich der Verziehung Umgehungsleitungen vorgesehen werden. Bei Fallleitungsverziehungen in Fallleitungen über 22 m sind Umgehungsleitungen zwingend – auch wenn keine Anschlüsse im Bereich der Verziehung vorhanden sind. Bezüglich Dimensionierung hat der Anwender nun zwei Optionen:
Einbau einer Umgehungsleitung über die gesamte Fallleitungsverziehung mit Berücksichtigung der anschlussfreien Zonen und unter Beibehaltung der Bemessungsregeln für Fallleitungen nach Tabelle 8. Anschlüsse in der Fallleitungsverziehung unter Beachtung der anschlussfreien Zonen und Bemessung der horizontalen Fallleitungsverziehung nach den Bemessungsregeln für Sammelleitungen nach Tabelle A.3 mit h/di = 0,5. Wenn die Bemessung der Fallleitungsverziehung nach Tabelle A.3 eine größere Nennweite als die Bemessung nach Tabelle 8 ergibt, so ist die gesamte Fallleitung einschließlich der Lüftungsleitung in der größeren Nennweite auszuführen.
Darüber hinaus wurde die Notwendigkeit der Auflösung einer 90°-Umlenkung in 2 x 45°-Bögen plus Zwischenstück präzisiert. Zudem wird in einer Zeichnung verdeutlicht, wie die Fallleitungslängen zu ermitteln sind.
Belüftung von Sammelanschlussleitungen
Sammelanschlussleitungen, die aufgrund der Überschreitung einer Anwendungsgrenze (SDU, Leitungslänge, Anzahl Richtungsänderungen, Höhenversatz) belüftet werden müssen, können alternativ zur Umlüftung an einen Fallstrang mit einer direkten Nebenlüftung über Dach belüftet werden. In diesem Fall ist die direkte Nebenlüftung nach Tabelle 8 zu bemessen.
Balkone, Loggien, Laubengänge und Terrassen
Balkone, Loggien, Laubengänge und Dachterrassen sind wie Dachflächen zu behandeln. Hierbei muss generell sichergestellt werden, dass das Entwässerungssystem und die Notentwässerung gemeinsam mindestens das am Gebäudestandort über fünf Minuten zu erwartende Jahrhundertregenereignis r(5,100) entwässern können. Bei schwellenarmen oder schwellenlosen Austrittsbereichen nach DIN 18040 muss die Notentwässerung den gesamten zu erwartenden Jahrhundertregen allein abführen können. Bei Ablaufstellen unterhalb der Rückstauebene ist grundsätzlich zu prüfen, in welchem Maße Niederschlagswasser über Versickerungsanlagen (siehe DWA–A138) abgeleitet oder einem oberirdischen Gewässer zugeführt werden kann. Niederschlagswasser von Flächen unterhalb der Rückstauebene, das nicht versickert bzw. keinem oberirdischen Gewässer zugeführt werden kann, ist mittels Abwasserhebeanlagen rückstaufrei der öffentlichen Kanalisation zuzuführen. Ist nur die Einleitung in die öffentliche Kanalisation möglich, gelten die Vorgaben für Mischwasserleitungen nach Kap. 14.7.
Auslauf auf andere Dachflächen
Die Ableitung von Niederschlagswasser auf tieferliegende Dachflächen ist grundsätzlich zu vermeiden. Im Normentwurf wurden die Ausnahmefälle präzisiert, bei denen Niederschlagswasser über freie Ausläufe auf niedrigere Dachflächen abgeleitet werden kann. Dazu zählen Dachflächen von Aufzugsüberfahrten, Technikzentralen, Gaupen, Krüppelwalmen als auch Retentionsanforderungen der unteren Dachfläche.
Ableitung der Notentwässerung
Im Grundsatz gilt, dass die Notentwässerung einer Dachentwässerungsanlage mit freiem Auslauf auf schadlos überflutbare Flächen abgeleitet werden muss. Diese Flächen sind jedoch rar, nicht vorhanden oder nicht in der Lage das zu erwartende Jahrhundertregenereignis (?(5,100)) abzüglich der Berechnungsregenspende (?(D,T)) aufzunehmen. Der Normentwurf sieht nun vor, dass bei einer Grenzbebauung unter der Voraussetzung einer Genehmigung die Notentwässerung auch auf öffentliche oder benachbarte Grundstücke abgeleitet werden kann.
Kapitel Regenwasseranlagen überarbeitet
Das Kapitel Regenwasseranlagen wurde grundlegend überarbeitet mit berichtigten Festlegungen zum Berechnungsregen und zu den Abflussbeiwerten. Neu hinzugekommen sind Regelungen zur Flachdachentwässerung mit gedrosseltem Abflussvermögen (Retentionsentwässerung), insbesondere die Bemessung des Rückhaltevolumens und die Ermittlung der Anstauhöhen. Das Kapitel Überflutungs- und Überlastungsnachweis wurde ebenfalls überarbeitet und mit allgemeinen Festlegungen ergänzt. Die Regelungen zur Führung des Überflutungsnachweises wurden hierbei präzisiert. Der Normentwurf beinhaltet zudem keine Regenspenden mehr. Für die Ermittlung der Berechnungsregenspenden sind die aktuellen Werte nach KOSTRA-DWD zu verwenden. Die Datenbereitstellung (Open Data) erfolgt über das Climate Data Center (CDC; www.dwd.de/cdc) des Deutschen Wetterdienstes. Die Werte können für jeden Ortspunkt entnommen werden. Die Wahl des Ortspunktes erfolgt bei Abruf über das CDC mittels Eingabe von Koordinaten. Für den angegebenen Ortspunkt wird das zugehörige KOSTRA-Rasterfeld ermittelt.
Dichtheitsprüfung von innenliegenden Schmutz- und Regenwasserleitungen
Es gilt der Grundsatz, dass innenliegende Schmutz- und Regenwasserleitungen nicht auf Dichtheit geprüft werden müssen. Sollte in begründeten Ausnahmefällen (z. B. durch die Forderung eines Schadenversicherers) eine Dichtheitsprüfung durchgeführt werden, sollte diese nach den im Normentwurf DIN 1986-100, Anhang D, genannten Verfahren durchgeführt werden. Die Verfahren (Sichtprüfung, Prüfung mit Luft oder Wasser) basieren auf der BTGA-Regel 5.005. Die Prüfkriterien wurden im BTGA Fachausschuss Sanitär erarbeitet und in Prüfständen ausgiebig getestet. Diese Verfahren werden seit nunmehr 5 Jahren angewendet und haben sich in der Praxis bewährt und etabliert.
Übernahme der DIN 1986-4
Es ist vorgesehen, die Inhalte aus DIN 1986-4 „Verwendungsbereiche von Abwasserrohren und -formstücken verschiedener Werkstoffe“ in den Entwurf DIN 1986-100, Anhang E zu überführen. Es werden darin die Rohrsysteme gelistet und unterschieden, die nach europäisch harmonisierten und nicht harmonisierten Normen gefertigt werden. Nicht erwähnte Rohrleitungssysteme mit Allgemeiner bauaufsichtlicher Zulassung (AbZ) sind ebenfalls zulässig. Die Verwendungsbereiche sind der jeweiligen AbZ zu entnehmen bzw. beim Hersteller zu erfragen. Eine Liste der erteilten AbZ wird vom Deutschen Institut für Bautechnik (DIBt) zur Verfügung gestellt.
Autor: Dipl.-Ing. Peter Reichert, Leiter Competence Center Haustechnik, Geberit Vertriebs GmbH







